Соединения трубопроводные диэлектрические
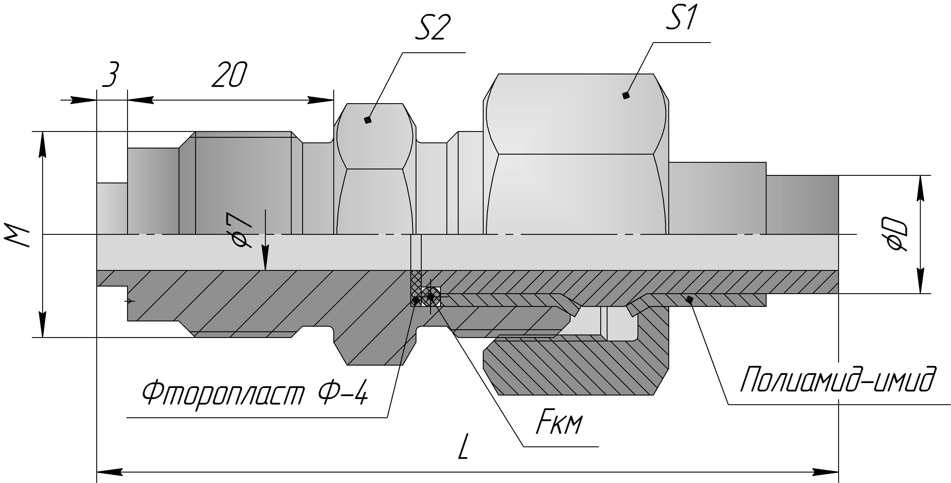
Соединения трубопроводные диэлектрические предназначены для изоляции двух независимых металлических трубок от действия электрического тока с одновременным обеспечением герметичного соединения. Электрическое сопротивление изолятора при 200С и напряжении 10 В составляет 10 МОм.
| 1 | 2 | 3 | 4 | ||||
| Соединение | НСВ-ДЭ | - | 14 | - | М20х1,5 | - | Б |
Ниппельное соединение ввертное диэлектрическое (НСВ-ДЭ), диаметр присоединяемой трубы 14 мм, монтажная резьба М20х1,5, из стали 12Х18Н10Т (Б).
| 1 | 2 | 3 | 4 | ||||
| Соединение | НСН-ДЭ | - | 12 | - | G1/2 | - | 316L |
| Параметр | Возможные значения | |
| 1 | Тип соединения |
НСВ-ДЭ - ниппельное соединение ввертное диэлектрическое; НСН-ДЭ - ниппельное соединение навертное диэлектрическое. |
| 2 | Присоединительный параметр | D - диаметр присоединяемой трубы (см. табл.). |
| 3 | Монтажная резьба | М - монтажная резьба соединения (см. табл. ). |
| - | Условное давление (см. табл.) | Pn - наибольшее избыточное рабочее давление при температуре среды 20°С, при котором обеспечивается заданный срок службы. |
| 4 | Материал соединения |
В стандартном исполнении соединения изготавливаются из сортового проката без термической обработки: Б - соединение изготавливается из стали 12Х18Н10Т (рабочая температура: -40…+93 0С); Марка материала – материал указывается заказчиком. |
| 5 | Дополнительные опции (указываются в скобках после условного обозначения) |
МКК – материал соединения должен быть устойчив к межкристаллитной коррозии; H2S – материал соединения должен быть устойчив к сероводороду; O2 – обезжиривание (кислородное исполнение); ТО – материал соединения должен быть в термообработанном состоянии. |
Техническая документация, прилагаемая к продукции, включает в себя:
- паспорт (1 экземпляр на партию).
По требованию заказчика (в соответствии с договором поставки) может дополнительно предоставляться: чертеж общего вида; руководство по эксплуатации; сертификаты на используемые материалы и т.п.
| Схема исполнения |
D, мм |
М, мм дюйм |
L, мм |
S1, мм |
S2, мм |
Pn, МПа |
|
Соединение НСВ - D - M - S |
14 | М20х1,5 G1/2 |
71 | 27 | 22 | 16 |
Соединение НСВ - D - M - S |
14 |
К1/2 R1/2 1/2NPT |
68 | 27 | 22 | 16 |
Соединение НСН – D – M - S |
14 |
К1/2 R1/2 1/2NPT |
63 | 27 | 27 | 16 |
Соединение НСН – D – M - S |
14 |
М20х1,5 G1/2 |
63 | 27 | 27 | 16 |

Соединение НСВ -
Соединение НСН – 