Соединения трубопроводные
Назначение
Соединения трубопроводные предназначены для соединения технологических трубопроводов и аппаратов, отборных устройств давления и принадлежностей к ним.
Схема условного обозначения соединений
Пример записи условного обозначения
| 1 | - | 3 | 4 | |
| Соединение | НСВ | 14 | М20х1,5 | Ац |
Ниппельное соединение ввертное (НСВ), диаметр присоединяемой трубы 14 мм, монтажная резьба М20х1,5, из стали 20 с покрытием Ц9.хр (Ац).
| 1 | - | 3 | 4 | |
| Соединение | СМН | 8 | G1/2 | Л63 |
Ниппельное медных труб с развальцовкой навертное (СМН), диаметр присоединяемой трубы 8 мм, монтажная резьба G1/2, из латуни Л63.
| Параметр | Возможные значения | |
| 1 | Тип соединения | НСВ - ниппельное соединение ввертное; НСН - ниппельное соединение навертное; НСТ - ниппельное соединение тройниковое; Примечание: Предельные параметры применения шайб медных не должны превышать значений, установленных для меди М1 (рабочая температура: -269…+250 °C). Возможно применение прокладки из другого материала по требованию заказчика. СМВ – соединение медных труб с развальцовкой ввертное; СМН – соединение медных труб с развальцовкой навертное; СМТ – соединение медных труб с развальцовкой тройниковое; СМ – соединение медных труб с развальцовкой проходное. Примечание: Гайка соединений медных труб выполнена с резьбой М12х1,25. Возможно применение гаек с другим типом резьбы по требованию заказчика. |
| 2 | Присоединительный параметр | D - диаметр присоединяемой трубы |
| 3 | Монтажная резьба | М - монтажная резьба соединения |
| - | Условное давление | Pn - наибольшее избыточное рабочее давление при температуре среды 20°С, при котором обеспечивается заданный срок службы. |
| 4 | Материал соединения | В стандартном исполнении соединения изготавливаются из сортового проката без термической обработки: А - соединение изготавливается из стали 20 (рабочая температура: -20…+425 °C); Ац - соединение изготавливается из стали 20 с покрытием Ц9.хр (рабочая температура: -20…+250 °C); Б - соединение изготавливается из стали 12Х18Н10Т (рабочая температура: -253…+610 °C); В - соединение изготавливается из стали 09Г2С (рабочая температура: -20…+475 °C); Г - соединение изготавливается из стали 09Г2С-12 (рабочая температура: -40…+475 °C); Марка материала – материал указывается заказчиком. |
| 5 | Дополнительные опции (указываются в скобках после условного обозначения) | МКК – материал соединения должен быть устойчив к межкристаллитной коррозии; H2S – материал соединения должен быть устойчив к сероводороду; O2 – обезжиривание (кислородное исполнение); ТО – материал соединения должен быть в термообработанном состоянии. ПСТО – сварные швы соединений (при наличии) должны пройти послесварочную термообработку; ЦД – сварные швы соединений (при наличии) должны быть проконтролированы цветной дефектоскопией; СФФ – сварные швы соединений (при наличии) должны быть проконтролированы на содержание ферритной фазы. |
Техническая документация, прилагаемая к продукции, включает в себя:
- паспорт (1 экземпляр на партию).
По требованию заказчика (в соответствии с договором поставки) может дополнительно предоставляться: чертеж общего вида; руководство по эксплуатации; сертификаты на используемые материалы и т.п.
| Конструктивные исполнения соединений | ||||||
| Схема исполнения | D, мм | М, мм дюйм |
L, мм | S1, мм | S2, мм | Pn, МПа |
| 1 | 2 | 3 | 4 | 5 | 6 | 7 |
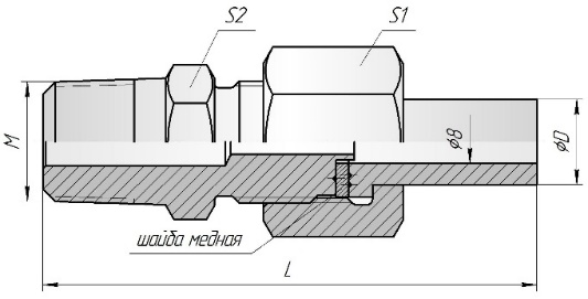
![]() Соединение НСВ - D - M - S |
14 | М20х1,5 G1/2 |
84 | 27 | 22 | 40 |
![]() Соединение НСВ - D - M - S |
14 | К1/2 R1/2 1/2NPT |
81 | 27 | 22 | 40 |
![]() Соединение НСН – D – M - S |
14 | М20х1,5 G1/2 |
45 | 27 | - | 40 |
![]() Соединение НСН – D – M - S |
14 | К1/2 R1/2 1/2NPT |
76 | 27 | 27 | 40 |
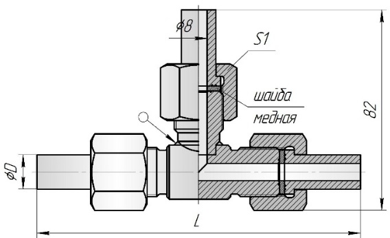
![]() Соединение НСТ - D - S |
14 | - | 132 | 27 | - | 40 |
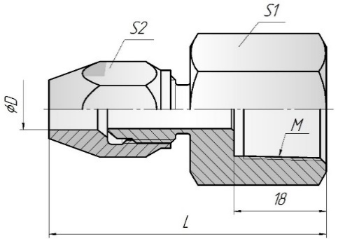
![]() Соединение СМВ - D - M - S |
6 | М20х1,5 G1/2 |
53 | 22 | 14 | 6,3 |
| 8 | 14 | |||||
| 10 | 19 | |||||
| 12 | 22 | |||||
| 14 | 24 | |||||
![]() Соединение СМВ - D - M - S |
6 | К1/2 R1/2 1/2NPT |
50 | 22 | 14 | 6,3 |
| 8 | 14 | |||||
| 10 | 19 | |||||
| 12 | 22 | |||||
| 14 | 24 | |||||
![]() Соединение СМН - D - M - S |
6 | М20х1,5 G1/2 К1/2 R1/2 1/2NPT |
50 | 27 | 14 | 6,3 |
| 8 | 14 | |||||
| 10 | 19 | |||||
| 12 | 22 | |||||
| 14 | 24 | |||||
![]() Соединение СМ - D - S |
6 | - | 66 | 14 | 14 | 6,3 |
| 8 | 14 | 14 | ||||
| 10 | 19 | 19 | ||||
| 12 | 22 | 22 | ||||
| 14 | 24 | 24 | ||||
![]() Соединение СМТ - D - S |
6 | - | 82 | - | 14 | 6,3 |
| 8 | 14 | |||||
| 10 | 22 | |||||
| 12 | 22 | |||||
| 14 | 24 | |||||









